项目名称:广州市荔湾区中南街海南股份合作经济联合社原胜亚灯具厂地块合作项目
项目编号:JG2023-6086
本项目采用资格审查方式:资格后审
项目所在区域:广东省广州市荔湾区
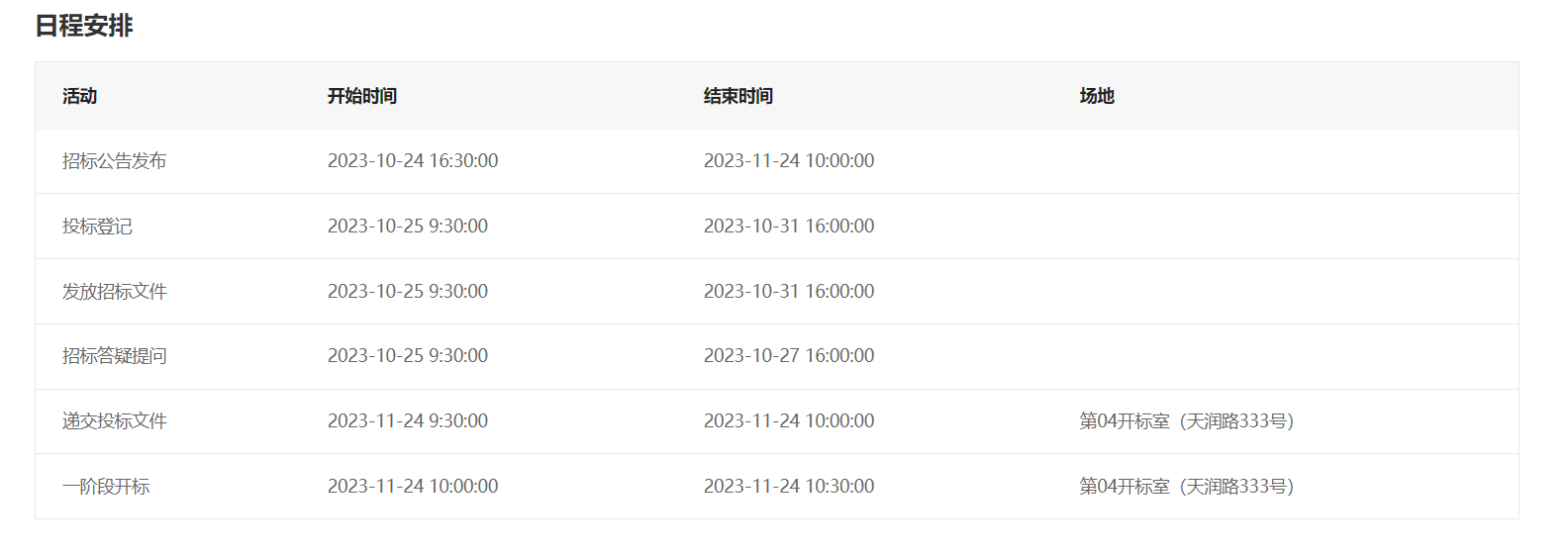
投标登记时间:2023年10月25日 9时30分~2023年10月31日 16时0分
投标登记方式:现场登记
是否允许联合体投标登记:否
保证金金额(万元):200
最高投标限价(万元):
投标人资格条件:参加本项目投标的投标人必须符合下列要求:(提供相关证明材料复印件并加盖公章) 1、投标人参加投标的意思表达清楚,投标人代表被授权有效; 2、持有事业单位登记管理部门核发的事业单位法人证书且在有效期内或持有工商行政管理部门核发的企业法人营业执照且在有效期内; 3、投标申请人在投标登记前须在广州公共资源交易中心建立企业信息登记。 4、单位负责人为同一人或者存在控股、管理关系的不同单位,不得参加同一标段投标或者未划分标段的同一招标项目投标; 5、为采购项目提供整体设计、规范编制或者项目管理、监理、检测等服务的供应商,不得再参加该招标项目的其他采购活动; 6、本项目不允许联合体投标。
投标人拟担任本工程项目负责人要求:无
使用企业库数据源:交易集团企业库
开标时间:2023年11月24日 10时0分 - 2023年11月24日 10时30分
开标地点:第04开标室(天润路333号)
投标文件递交时间:2023年11月24日 9时30分 - 2023年11月24日 10时0分
自助签到日程安排:/
招标人:广州市荔湾区中南街海南股份合作经济联合社
招标代理:灏峰项目管理(广州)有限公司
联系人:梁先生
代理联系人:卢小姐
联系方式:020-81773466
代理联系方式:020-81273371
招标监督机构:广州市荔湾区中南街海南股份合作经济联合社
监督电话:81510868

平博在线平台发布时间:2023年10月24日